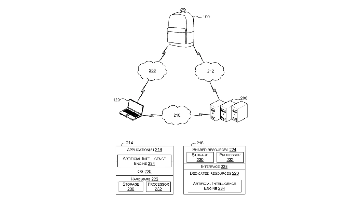
IT之家 8 月 31 日消息,根据美国商标和专利局(USPTO)近日公示的清单,微软于今年 5 月提交了一项智能双肩包专利,其亮点在于整合了 AI 技术,可以识别佩戴者周围环境、自动响应用户聊天请求、访问基于云端的信息、以及和其它设备交互。

微软在专利描述中表示:“计算性能的演进,赋予了数字助理更多的技能。本发明概念涉及可穿戴数字助理的改进,帮助用户执行各项任务”。

微软在专利描述的应用场景中,佩戴 AI
双肩包去滑雪,可以通过扫描周围环境,告知用户是否越界;站在音乐海报前面,可以根据用户提示自动创建日历项,提醒购票和参加音乐会;在超市可以自动检测过去 1-2
周的价格,并对比其它商超的价格情况。
