当大家在畅想和争论下一代的智能终端到底是VR还是其他设备的时候,一个不起眼的小型硬件设备却悄悄达到了百万销量。

2019年时,亚马逊在秋季硬件发布会上一口气带来了15款新品,最让人眼前一亮的则是压轴的智能戒指Echo Loop。这款形似扳指的智能戒指在当时被戏称为“指环王”,内置了触觉引擎和两个麦克风,可以通过振动来提醒新消息,佩戴者可以和语音助手Alexa进行语音交互,甚至还可以通过双击来拨通电话。

不过这款智能戒指在发布会上短暂亮相之后,一直不温不火,随后也没了下文。
在众多的可穿戴智能设备品类中,智能戒指本应算是小众产品,但是一家芬兰公司Oura却在这个领域持续受到资本的关注:
2020年3月,Oura宣布完成2800万美元的B轮融资;2021年5月,Oura获得1亿美元的C轮融资,融资总额达到1.5亿美元;今年4月,Oura再次完成了数亿美元的融资,估值超过25亿。
这家成立于2013年的公司,一直想要通过精密智能的数据监测和小巧灵活的佩戴方式来塑造更健康的生活方式, 其主要产品是智能戒指和对应的APP。最初,Oura的产品因为戒指的独特外形在众多可穿戴设备中脱颖而出,在 2018 年推出的第二代产品中,Oura Ring基于内置的传感器,实现了睡眠监测功能。

Oura公司的首席执行官Harpreet Singh Rai曾经公开表示:“可穿戴设备正在从活动追踪器过渡到能够改善人们生活的健康平台,Oura首先关注睡眠,因为睡眠是一种日常习惯,并且与健康情况息息相关,睡眠不足可能引起糖尿病、心脏病、阿尔茨海默氏症、癌症、心理疾病。”
到去年5月时,Oura已经售出了超过50万枚智能戒指。
Oura Ring的二代产品可以通过红外光学脉冲测量传感器,测量手指掌动脉的血容量脉冲;使用三维加速度计和陀螺仪检测身体运动的方向和强度;通过三个NTC温度传感器测量用户的体温。
同时,Oura Ring 2可以与自家开发的APP进行连接,在App内显示具体的睡眠数据,如睡眠时长、深度睡眠、浅层睡眠、快速眼动期等各项数据,而且还能分析用户的睡眠习惯和模式,对睡眠质量进行评分,并提出改善意见,帮助用户预防因为长期缺乏睡眠而导致的疾病等,就像一个真实的私人睡眠教练。
不过,以上的这些功能点,很多其他类型的可穿戴设备也能做到,但是在收集人体的生理数据时,手指上的动脉比手腕上的静脉发出的信号强,因此智能戒指可以比智能手表、手环等设备更准确地进行监测。
此外,由于智能戒指既需要满足小尺寸、长续航,还要保证数据计算、安全连接等,因此天然需要进行低功耗的设计。Oura则使用了PSoC 6的低功耗架构,这是首个专为IoT低功耗产品设计的微控制器架构,具有低功耗、高灵活性、高集成度等特点,无缝集成IoT终端应用关键的硬件安全和连接功能。

去年10月,Oura再次推出了第三代智能戒指,内部集成了7 个传感器,相比第二代产品,功能上也更加广泛,增加了计步、运动检测、经期预测、血氧监测和实时心率跟踪等;电池续航可达到1周;防水深度达到 100 米;还可以与Apple Health和Google Fit连接。

去年5月,Oura戒指的销量刚刚超过50万枚,而截止到今年3月22日,其智能戒指的销量就已经突破100万,第三代戒指的销量也已经超过前两代产品的总和,并积累了超过25亿小时的睡眠记录数据。
Oura戒指近几年较为亮眼的销售数据,或许与疫情分不开关系:
在疫情期间,曾经有一位来自芬兰的用户在其社交媒体主页上表示Oura Ring在无症状的情况下提醒他可能感染了新冠,而之后的检测结果证实他确实已经被感染。
UCSF医学中心和扎克伯格旧金山医院也正在和Oura合作,希望利用该戒指来监测体温、睡眠方式和心率活动水平。据了解,在旧金山已经有上千名医护人员使用Oura Ring来追踪他们的体温,以便能尽早地注意到新冠肺炎的症状。
2020年底,《Nature》发表了一篇题为《利用可穿戴设备进行持续发烧监测的可行性》的研究,也强调了Oura的设备如何用于检测体温变化以及如何在早期发现可能的新冠感染。
在这种情况下,为了获取更多的曝光量,第三代Oura Ring还与NBA合作,将其应用到对NBA球员体温、心率监测等场景中,可以通过追踪球员的睡眠模式,使其调整到最佳的比赛水准。
除了增加其对于新冠监测的宣传之外,在去年10月,Oura还开启了5.99美元每月的订阅收费模式,可以提供每日健康报表,个性化建议以及一些教育视频和音频,使得Oura在硬件收入之外,在软件服务方面也实现营收新突破。根据Oura公司的公告,在完成最新一轮的融资之后,其获得的资金也将在硬件产品研发之外,用于个性化和指导性的内容。

虽然从销量上来看,目前Oura是唯一的真正在智能戒指市场上站稳脚跟的公司,但比智能手机等领域的发展路径,最终的赢家现在还尚无定论。
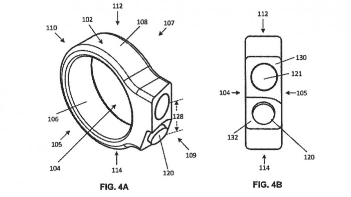
近日,OPPO曝光了一项名为「智能指环」的专利,从曝光信息来看,这个设备的设计与 Oura 的智能戒指非常相似。

不过,与Oura Ring不同的是,OPPO的「智能指环」设计或许会带有显示屏,能够像智能手表一样进行交互,而且屏幕可以进行拉伸,类似在手机中推出的“卷轴屏”概念。
无独有偶,苹果和谷歌也曾在2020年曝光过智能戒指的相关专利。
当时苹果的专利显示,这款戒指的外部集成了力传感器、超声波传感器、惯性测量单元等各种传感器,用来收集用户的输入信息。同时,这款智能戒指还可以用于改变音量,甚至解锁Mac电脑等设备。
谷歌专利的不同之处则在于,在智能戒指上还增加了微型相机,可以进行调节光圈和拍照等操作。

除了OPPO、谷歌、苹果之外,在今年的CES上,健康科技公司Movano宣布推出Movano Ring ,可以提供几乎与Oura Ring完全相同的功能,还希望将来能够帮助用户检测慢性疾病,但售价却更加便宜,等待FDA最终批准后即可上市。

写在最后
在VR领域,已经形成的普遍共识是出货量达到1000万会成为一个拐点。由于智能戒指的整体市场体量不大,目前参与进来的玩家也不多,Oura单一产品的销量突破100万已经是非常不错的成绩。
传统的戒指通常代表着情感的传递,而现在的智能戒指则被赋予了更多的功能性,既可以是装饰,也可以是健康检测器,或者设备控制器等。虽然受到了大小的限制,与智能手表相比,在可实现的功能数量上必然会减少一些,但这种彻底无感的佩戴,以及手势操作的识别,或许在未来可以带来更多不一样的玩法,和智能手表等其他可穿戴设备形成补充。
参考资料:
1.《OPPO智能环专利授权,显示屏可拉伸》,创科数字
2.《疫情催生出的智能戒指Oura只售300美元,如何预防疾病?》,大愚百科全书
3.《智能戒指Oura完成1亿美元C轮融资》,投资界
4.《研发睡眠监测智能戒指,芬兰「Oura」获2800万美元B轮融资》,36氪
5.《谷歌计划研发可穿戴自拍戒指,内置摄像头》,cnBeta
6.《又一枚智能戒指来了,Movano Ring 的想法很独特》,深圳湾